| штат: | |
|---|---|
| Количество: | |
Прецизионные тигли, изготовленные из блоков графита высокой чистоты, называются тиглями из графита высокой чистоты, и его характеристики:
1. Структура тигля мелкая, а пористость чрезвычайно низкая (до 11%).Внутренние и внешние стенки тигля можно отполировать до зеркального блеска, что подчеркивает смазывающую способность графитового материала и затрудняет прилипание расплавленного материала к стенкам тигля.
2. Содержание углерода достигает 99,99%, а содержание примесей чрезвычайно низкое, поэтому расплавленный материал не загрязняется.
3. Температурная стойкость более заметна, она может выдерживать высокую температуру выше 2000 ℃ и не легко окисляется.
Расчет емкости графитового тигля основан на стандарте JIS#, номер 1 эквивалентен мощности выплавки 1 кг латуни, например, графитовый тигель 300# плавит около 300 кг меди и плавит около 100 кг алюминия.
Обычные графитовые тигли, изготовленные по стандарту, соотношение наружного диаметра к высоте составляет около 0,7-0,8/1, характеристики и модели от № 1 до № 2500.
К графитовым тиглям специальной формы относятся:
длинный тип, который более тонкий, чем стандартный тип, соотношение внешнего диаметра к высоте составляет около 0,6-0,7/1, а емкость от № 15 до № 620.
Чашеобразная форма, внешний диаметр относительно большой, соотношение диаметра к высоте составляет около 1/1, вместимость — от № 50 до № 1800.
С разливочным носиком тигель имеет разливочную канавку, вместимость от № 50 до № 1800.
Тип электропечи, цилиндрическая и тонкая на вид, соотношение внешнего диаметра к высоте около 0,6/1, емкость от №60 до №5000.
Графитовые тигли также могут быть изготовлены по индивидуальному заказу в соответствии с размером клиента и сценариями применения, поэтому передача сценариев применения очень важна.
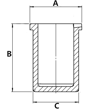
Емкость (мм) | A | B | C |
1 кг | 58 | 88 | 46 |
2 кг | 65 | 107 | 56 |
3 кг | 80 | 105 | 70 |
4 кг | 85 | 130 | 77 |
5 кг | 100 | 132 | 88 |
6 кг | 104 | 155 | 90 |
7 кг | 115 | 180 | 98 |
8 кг | 125 | 185 | 110 |
Прецизионные тигли, изготовленные из блоков графита высокой чистоты, называются тиглями из графита высокой чистоты, и его характеристики:
1. Структура тигля мелкая, а пористость чрезвычайно низкая (до 11%).Внутренние и внешние стенки тигля можно отполировать до зеркального блеска, что подчеркивает смазывающую способность графитового материала и затрудняет прилипание расплавленного материала к стенкам тигля.
2. Содержание углерода достигает 99,99%, а содержание примесей чрезвычайно низкое, поэтому расплавленный материал не загрязняется.
3. Температурная стойкость более заметна, она может выдерживать высокую температуру выше 2000 ℃ и не легко окисляется.
Расчет емкости графитового тигля основан на стандарте JIS#, номер 1 эквивалентен мощности выплавки 1 кг латуни, например, графитовый тигель 300# плавит около 300 кг меди и плавит около 100 кг алюминия.
Обычные графитовые тигли, изготовленные по стандарту, соотношение наружного диаметра к высоте составляет около 0,7-0,8/1, характеристики и модели от № 1 до № 2500.
К графитовым тиглям специальной формы относятся:
длинный тип, который более тонкий, чем стандартный тип, соотношение внешнего диаметра к высоте составляет около 0,6-0,7/1, а емкость от № 15 до № 620.
Чашеобразная форма, внешний диаметр относительно большой, соотношение диаметра к высоте составляет около 1/1, вместимость — от № 50 до № 1800.
С разливочным носиком тигель имеет разливочную канавку, вместимость от № 50 до № 1800.
Тип электропечи, цилиндрическая и тонкая на вид, соотношение внешнего диаметра к высоте около 0,6/1, емкость от №60 до №5000.
Графитовые тигли также могут быть изготовлены по индивидуальному заказу в соответствии с размером клиента и сценариями применения, поэтому передача сценариев применения очень важна.
Емкость (мм) | A | B | C |
1 кг | 58 | 88 | 46 |
2 кг | 65 | 107 | 56 |
3 кг | 80 | 105 | 70 |
4 кг | 85 | 130 | 77 |
5 кг | 100 | 132 | 88 |
6 кг | 104 | 155 | 90 |
7 кг | 115 | 180 | 98 |
8 кг | 125 | 185 | 110 |